AIRS BNF24A
Электропривод предназначен для управления огнезадерживающими клапанами и клапанами дымоудаления, установленных в системах общеобменной вентиляции, кондиционирования и системах противопожарной вентиляции
- Управление: открыто/закрыто
- Напряжение питания 24 В
- Управление огнезадерживающими клапанами площадью до 2 м2
- Крутящий момент 10 Нм
- Возможно взрывозащищенное исполнение
Принцип действия
При подаче питания происходит вращение вала электропривода к положениям открыто или закрыто. При прекращении подачи питания вал сохраняет свое положение.
Монтаж
Электропривод устанавливается на клапан с квадратным приводным валом размером 12 мм и закрепля- ется через крепежные отверстия ø6 мм к корпусу клапана
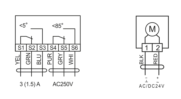
Сигнализация положений
Электропривод содержит два встроенных переключателя для сигнализации положения створки при углах поворота на 5° и 90° Промежуточное положение определяется по механическому указателю.
Ручное управление
Возможно ручное управление приводом, а также фиксирование его в любом положении. Управление осуществляется прилагаемым в комплекте ключом.


